华能天镇天台山、阎家梁148MW风电项目安全稳控装置采购中标候选人公示
(招标编号:HNZB2020-06-2024-01)
公示发布时间2020年7月22日
公示结束时间2020年7月24日
一、评标情况

(二)中标候选人按招标文件要求承诺的项目负责人情况
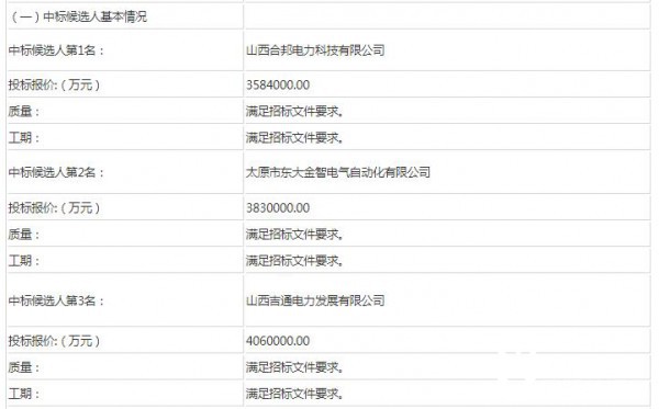
中标候选人山西合邦电力科技有限公司的项目负责人:王姝雅、身份证号:14223119850709502X
中标候选人太原市东大金智电气自动化有限公司的项目负责人:李婷、身份证号:140102196510311412
中标候选人山西吉通电力发展有限公司的项目负责人: 曹志宾 、身份证号: 140103196111060632
(三)中标候选人响应招标文件要求的资格能力条件
中标候选人山西合邦电力科技有限公司的资格能力条件:满足招标文件要求。
中标候选人太原市东大金智电气自动化有限公司 的资格能力条件:满足招标文件要求。
中标候选人山西吉通电力发展有限公司的资格能力条件:满足招标文件要求。
二、提出异议的渠道和方式
投标人或者其他利害关系人对本招标项目的评标结果有异议的,应当在中标候选人公示期间向招标人或招标代理机构或在华能集团电子商务平台“异议投诉”提出书面异议文件。
三、监督部门
本招标项目的监督部门为:华能招标有限公司风险控制部
四、联系方式
招标代理机构:华能招标有限公司
地 址:北京市昌平区北七家镇七北路10号
联 系 人:刘洋
电 话:400-010-1086转8210
电子邮件:hnzbliu@163.com
切换行业




正在加载...



